|
|
1修機械故障前應對電機做哪些檢查?
泰興減速機2018年9月5日訊 為查明故障原因和大致的故障范圍,在檢修電機機械故障前,應對電機外部進行以下檢查:
檢查機座、端蓋有無裂紋,轉軸有無裂痕或彎曲變形。
檢查轉子轉動是否靈活、平穩、軸向是否游動,有無不正常的聲響。
檢查軸承是否松動或卡住。
檢查風道有無堵塞,風葉及散熱片等是否完好。
對于容量較大的電機,端蓋上一般都有測氣隙孔,可通過測氣隙孔檢測氣隙不均勻度的平均值是否在15%以內。
通電運轉,采用手摸、耳聽、鼻聞及眼觀等方法檢查電機是否正常。一旦發現異常應立即切斷電源,以防故障擴大。
經檢查大體確定故障性質并明確檢修范圍后,方能拆卸電機進一步詳細檢查和修理。
對于電機內的機械部分,應進行以下檢查:
檢查定、轉子鐵芯表面有無擦傷痕跡。
當轉子表面只有一處擦痕,而定子表面卻全部擦傷時,是轉軸彎曲或轉子不平衡造成的;當定子表面只有一處擦痕,而轉子表面一周均有擦傷時,則是定、轉子不同心而造成的,如機座和端蓋止口變形或軸承磨損嚴重致使轉子下沉等;如果定、轉子表面均有較大面積擦痕,則是上述兩種原因共同造成的。
檢查定、轉子鐵芯有無對齊。
若未對齊,相當于鐵芯縮短,則磁通密度增大而導致鐵芯過熱,其原因是轉子鐵芯軸向竄位或更換了新轉子不適宜造成。除此,尚應檢查定、轉子鐵芯有無沿圓周方向移動現象。如果有移動現象,說明緊固定子的螺釘松動或損壞丟失,或者是轉子鐵芯與軸配合不緊。
檢查轉子端環有無裂紋或斷裂,風葉是否損壞或變形以及轉軸有無彎曲。
檢查軸承內外套與軸頸及軸承室的配合符合要求否,有無過緊或過松現象;檢查軸承磨損程度,軸承是否完好以及潤滑油(脂)是否過少或干涸。
2怎樣拆裝電機?
在檢修電機時常需將電機拆開,若拆卸不當會損壞電機。因此,電機維修人員必須掌握正確拆卸及裝配電機的技術。
拆卸電機時應按下述步驟進行:
拆除外部所有接線,并標記好各線端,尤其是具有極性的線端(直流電機)。
拆卸皮帶輪或聯軸器,記錄聯軸器與軸臺距離。
拆除換向器側端蓋及軸承蓋螺釘,打開端蓋。
打開換向器側端蓋的通風窗,從刷握中取出電刷,拆下接到刷桿上的連線并做好標記。
在拆卸換向器側端蓋之前,在端蓋與機座的接合處做好標記,然后墊上木板,用鐵錘均勻地敲打端蓋邊緣,使端蓋止口慢慢地脫離機座及軸承外套圈。再標記好刷架位置,取出刷架。
用厚紙或布將換向器包好,以保持換向器清潔干凈并避免碰傷。
拆除軸伸側的端蓋螺釘,將電樞連同端蓋從定子鐵芯內抽出,操作時應注意不要碰傷電樞繞組。
欲更換軸承,可拆除軸伸側的軸承螺釘,取下軸承外蓋、端蓋及軸承。
拆下的所有零部件,應按拆卸順序放置并保存好,以免遺失,且有利于裝配時得心應手。
在裝配電機時,其操作步驟與拆卸時相反,只需按標記將各零部件及接線復位即可。
3怎樣拆裝皮帶輪或聯軸器?
皮帶輪或聯軸器的拆卸方法及步驟如下:
1、先將皮帶輪或聯軸器上的固定螺釘擰松或敲下銷子,并在皮帶輪或聯軸器的內孔與轉軸的接觸縫內加入煤油,予以滲透潤滑。之后用專用抓手拉軸器(又稱拉模)慢慢地把皮帶輪或聯軸器拉出來,如圖1-1中(a)所示。使用拉軸器時要頂正,螺桿中心應對準轉軸的中心線,并注意皮帶輪或聯軸器的受力情況,不要將輪絕緣拉破或損壞拉軸器。
圖1-1 用拉軸器拆卸皮帶輪或聯軸器
2、若皮帶輪或聯軸器裝得很緊或銹住,不易拆下,可用濕布包住轉軸,用噴燈將皮帶輪或聯軸器迅速均勻加熱,使其受熱膨脹,趁勢將其拉出拆下。
3、亦可用端部成楔形的方鐵斜方向頂住皮帶輪或聯軸器的內圈,如圖1-1中(b)所示,用小鐵錘敲打方鐵的另一端,將皮帶輪或聯軸器拆下。
如不需要清洗電機的軸承或軸套時,就不必拆卸聯軸器。
安裝皮帶輪或聯軸器,有冷裝及熱套裝兩種方法:
1、冷裝時,應先對準鍵槽或止緊螺釘孔。對于中小型電機,在皮帶輪或聯軸器的端面上墊上木塊,用手錘慢慢敲入。若敲入有困難,可在軸的另一端墊上木塊并頂在墻上,再敲入皮帶輪或聯軸器。對于大型電機,可用千斤頂把皮帶輪或聯軸器壓入轉軸中。但要用固定的支承架頂住電機的另一端及千斤頂的底部。
2、熱套裝是指對過盈配合的皮帶輪或聯軸器進行加熱,使其膨脹到一定程度,趁勢將其迅速套到轉軸上。因為皮帶輪或聯軸器的孔與軸多是采用過盈配合傳遞扭矩的。
熱套裝的加熱方法有烘爐加熱和熱油煮兩種:
1、采用烘爐加熱時,將皮帶輪或聯軸器置于烘爐中,為使其受熱均勻,升溫速度以60℃/h為宜,升溫不能過快,加熱時間依膨脹量而定。可用制備的所需膨脹的內徑尺寸樣針檢測,待樣針能伸入內孔時,即可進行熱套。
2、采用熱油煮時,是在裝有變壓器油的油箱中裝一支撐架,將皮帶輪或聯軸器置于支架上,之后將油加熱,使皮帶輪或聯軸器受熱膨脹,趁勢進行熱套。為防止受熱不均勻,皮帶輪或聯軸器不能與油箱底板直接接觸。
4怎樣拆卸刷架、風罩及風葉?
電機刷架、風罩及風葉的拆卸方法如下:
1、對于封閉式電機,拆卸皮帶輪或聯軸器后,擰下外風罩的螺釘,取下風罩。之后擰下轉子軸尾端風扇上的定位螺釘或取出銷子,用木錘輕輕地均勻敲擊風扇四周,風扇即可松脫取下。
2、對于繞線式電機,先松開刷架彈簧,抬起刷握卸下電刷,再取下電刷架。為確保裝配時準確復位,拆卸前應做好標記。
3、對于小型電機,風扇可不必拆下,而是隨轉子一起抽出。當端蓋內的軸承需注潤滑脂或更換時,則應將風扇拆下。
4、風葉的拆卸方法應隨安裝方法不同而異。
風葉有的用夾緊螺釘固定,有的用支頭螺釘固定,有的則是采用銷子。新式塑料風葉上專門有兩個方孔,是供使用拉軸器兩只拉鉤插入孔內拆卸用的。大型電機的風葉上近軸處專門鉆有兩個螺紋孔,是供交替地擰入與孔相稱的兩只螺釘,將風葉頂出來用的。大型電機的風葉裝得較緊,不易拆下。因此,在拆卸風葉時,應仔細觀察風葉的固定方法,之后采取相應的拆卸措施。
5怎樣拆卸端蓋?
電機的端蓋拆卸方法如下:
1、為避免裝配時弄錯,拆卸端蓋前應在機殼與端蓋接縫處做好標記。
2、拆卸滑動軸承端蓋前,應先放出潤滑脂(油),并將油環提起、綁好。
3、對于滑環或換向器電機,應取出或提起、綁牢電刷,并做好刷架位置標記,注意拆卸時不能碰傷電刷及提升裝置。
4、對于負載端裝有滾柱軸承的電機,應先拆卸非負載端。
5、一般小型電機只需拆風扇側的端蓋,先拆下端蓋上的螺釘,之后將轉子、端蓋、軸承蓋及風扇一起抽出。
6、對于大中型電機,由于轉子較重,需拆卸兩側端蓋。拆卸兩面式端蓋時,先松開上蓋螺釘,再擰松下蓋螺釘,然后揭開上蓋,撬開后卸下上瓦,取出油環,拿下下瓦,卸下下蓋。為便于裝配,拆卸時應標記好負載端及非負載端。
7、拆卸滾動軸承端蓋時,應先拆小蓋,之后拆除大蓋螺釘,卸下大蓋。
8、為防止定子、轉子相碰損傷,拆下端蓋后應在氣隙中墊上絕緣紙板。
9、拆下的小零件應存放在專用的零件箱內,并將每組零件按原樣裝配在一起,以便于總裝配。
6怎樣抽出電機的轉子?
電機轉子抽出方法取決于轉子的結構、重量及修理現場所用的起重設備。
抽出電機轉子的常用方法有4種:
1、小型電機的轉子可用手直接從定子內取出,如圖1-2所示。但應注意不能擦傷鐵芯及繞組。
圖1-2 用手抽出小型電機轉子
2、當電機的轉子風扇大于定子內孔時,應從風扇一側抽出轉子;對于有滑環或換向器的電機,則應從滑環或換向器一側抽出轉子。此時風扇、滑環或換向器不必拆下。
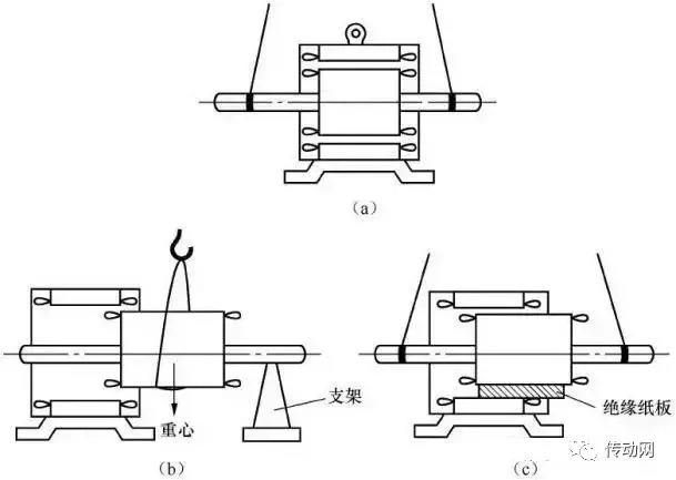
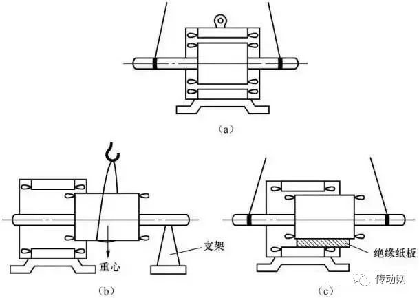
3、若電機轉子較重,而軸伸又較長時,可使用吊車將轉子抽出。操作時,用吊車的鋼絲繩吊住轉軸,如圖1-3中(a)所示,將轉子的重心慢慢移至定子外面,然后將其移出端放在墊有絕緣紙板的支架上,如圖1-3中(b)所示。這時再將吊車鋼絲繩改系在轉子重心處,即可將轉子吊出。當電機轉子轉軸較短時,不能使轉子重心移出定子外面,可在轉軸上加套一根長度適當的鋼管(假軸)。
抽轉子時要格外小心,防止將定子繞組擦傷,必要時可在線圈端部墊上絕緣紙板用以保護,如圖1-3中(c)所示。
圖1-3 用吊車抽出轉子
4、對無法套裝假軸的轉子,可采用兩次抽轉子方法將其抽出。即,先用雙鉤抽轉子,抽出一定長度后,將抽出的轉子部分放在高度可調的支架上,定子內的那一部分暫時支持在定子鐵芯上,如圖1-4所示。之后,再將轉子吊起抽出。
電機轉子抽出后,應及時檢查線圈、鐵芯、槽楔、端部綁扎處有無碰傷。若有碰傷部位應及時修復。
圖1-4 二次抽出轉子方法
7怎樣檢查及清理定、轉子?
電機經拆卸被解體后,應對定、轉子做以下的檢查和清理:
用壓縮空氣或皮老虎,將定、轉子上的塵埃清潔干凈。
線圈上的油塔、污物,用潔凈的抹布蘸酒精或四氯化碳等溶液擦拭干凈。
清理鐵芯、線圈及換向器等,不能使用金屬工具,以防損壞絕緣,應選用干凈的毛刷或柔軟的抹布。
檢查鐵芯疊片是否緊密,有無毛刺及折角等缺陷;夾緊螺栓是否對稱壓緊,鏈、銷等有無松動;通風溝內是否有雜物堵塞及通風片焊接牢固否。
檢查線圈絕緣有無氣泡、剝落及損傷;線圈的綁線、槽楔和墊塊等是否齊全、緊固,有無松脫、竄動或槽楔突出鐵芯等現象。
檢查磁極與線圈固定是否牢靠,絕緣螺栓的絕緣是否良好,極掌上的補償線圈是否楔緊以及連線有無彎折和短路等現象。
檢查轉子上的平衡塊是否牢固,有無移位、脫落等現象。
檢查電樞繞組綁線是否牢固,并頭套、升高片及引線等有無損壞或焊接不良,縫間有無導電的異物。
檢查籠型轉子銅條(鋁條)有無斷裂,與端環的焊接是否牢固,有無裂紋或松脫等現象以及各引線有無損傷或折斷。
在上述檢查中,如發現問題應采取相應措施予以修復,損壞的進行及時更換。
8怎樣拆卸軸承?
電機的轉軸與軸承的內圈是緊密配合的,通常是采用壓入的方法,使軸承的內圈與軸頸緊壓在一起,這樣電機運轉時,軸承內圈方能跟著轉軸一起旋轉。因此,拆卸電機軸承是件較麻煩的事。
常用的軸承拆卸方法如下:
1、用專用拉具拆卸軸承
采用專用拉具拆卸時,將拉具的腳放在軸承的內套圈上,而不能放在外套圈上,以防拉壞軸承,如圖1-5所示。拉具絲杠的頂點應對準轉軸中心,拉具要與轉軸保持平行,轉動手柄時用力需均勻,且旋轉緩慢,以防過急拉壞軸承。為使拆卸容易,亦可在軸承內套圈與轉軸間滲入些煤油再拉。
圖1-5 用專用拉具拆卸軸承
2、用金屬棒拆卸軸承
當沒有專用拉具或不適于采用拉具拆卸時,可將金屬棒頂在軸承的內套圈上,用手錘敲打金屬棒,將軸承慢慢地從轉軸上敲出,如圖1-6所示。敲打時為防止軸承損壞,用力不能過于猛急,應輪流敲打軸承兩對應側,不能只敲打一側,以使軸承內套圈受力均勻。
圖1-6 用金屬棒拆卸軸承
3、置于圓筒上拆卸軸承
將軸承放置在圓筒上,在軸承內套圈的下面墊兩塊鐵板,再將鐵板擱置在一只內徑略大于轉軸外徑的圓筒上,如圖1-7所示。為防止轉軸彎曲及端部變形,不能用手錘直接敲打轉軸端面,應在轉軸端面上墊一塊硬木板或銅塊,再用手錘敲打木板或銅塊。敲打時的著力點應對準轉軸的中心,用力亦不能過于猛急。為防軸承脫落下時損壞轉子或轉軸,圓筒的底部應放置一些柔軟的東西。此外,當軸承逐漸松動時,敲打力度亦應隨之減小。
圖1-7 置于圓筒上拆卸軸承
4、加熱法拆卸軸承
采用加熱法拆卸軸承,是利用熱脹冷縮的原理,使軸承內套圈脹大后,將其拆下。它適于裝配公差過緊或軸承氧化等使用上述方法難以拆卸的情況。加熱前,為使軸承與轉軸產生明顯溫差及防止熱量散發,用浸過冷水的布把轉軸包裹起來,之后把加熱到100℃左右的機油澆淋在軸承的內套圈上,趁勢將軸承拆下。
5、端蓋孔內的軸承拆卸方法
當軸承的外套圈與電機端蓋孔裝配較緊時,拆下端蓋后軸承的外套圈便留在電機端蓋孔里。此時,可將端蓋止口面朝上,平穩地放在兩塊鐵板上,并注意不能卡住軸承,如圖1-8所示。爾后將一段直徑略小于軸承外徑的金屬棒頂在軸承外套圈上,用手錘慢慢地敲打金屬棒即可將軸承外套圈推出。
圖1-8 拆卸端蓋孔內的軸承
9怎樣檢修滾動軸承的常見故障?
電機的定子是通過軸承來支撐轉子轉動的,因此在電機中軸承是承受機械磨損嚴重而負載最重的部件,最容易發生故障,在電機的機械故障中所占的比例最大。在軸承圈上一般印有號碼、符號,表示該軸承的類型、尺寸、系列及精密度等級等,當軸承損壞時,應更換號碼及符號均相同的新軸承。
滾動軸承的代號由7位數字組成,各數字表示的含義如下:
寬度系列:用阿拉伯數字表示。
“1”——正常系列
“2”——寬系列
“3”、“4”、“5”、“6”——特寬系列
“7”——窄系列
“8”、“9”——特殊系列
軸承結構:用一位或兩位數字表示軸承的結構特點。
如“5”表示軸承的外徑有止動槽
“15”則表示軸承帶有防塵蓋
軸承類型:用代號表示。
“0”——向心球軸承
“1”——向心球面球軸承
“2”——向心短圓柱滾子軸承
“3”——向心球面滾子軸承
“4”——長圓柱滾子軸承或滾針軸承
“5”——螺旋滾子軸承
“6”——向心推力球軸承
“7”——圓錐滾子軸承
“8”——推力球軸承或推力向心球軸承
“9”——推力滾子軸承或推力向心滾子軸承
直徑系列:用代號表示。
“1”——特徑系列
“2”——輕系列
“3”——中系列
“4”——重系列
“5”——輕寬系列
“6”——中寬系列
“7”、“8”——不定系列
“9”——內徑非標準
軸徑:指電機等機械軸承的內徑。
內徑為20~295mm的軸承,是以軸徑被5除所得的商來表示的
內徑10~20mm的軸承內徑代號列于表1.1
表1.1 10~20mm的軸承內徑代號
常用的滾動軸承規格列于表1.2
表1.2 常用滾動軸承規格
續表
在正常情況下滾動軸承是比較耐磨損的,但裝配不當、護封不妥、潤滑不足或潤滑脂不純以及有異物進入軸承內等,均會造成滾動軸承過早磨損。另外,軸頸與軸承內套圈、端蓋孔與軸承外套圈之間發生游轉時,亦將使軸承磨損。軸承的磨損程度是依據間隙來確定的,若間隙超過表1.3中所規定的最大磨損允許值,則應更換新軸承。
表1.3 電機軸承最大磨損允許值
異步電動機常用的滾動軸承型號列于表1.4和表1.5
表1.4 J、JO、JQ及JQO系列異步電動機滾動軸承型號
續表
表1.5 J2、JO2系列異步電動機滾動軸承型號
當軸承與端蓋孔間松動較大,可用鑿子在端蓋軸承室的圓周上鑿一排印子卡緊軸承外套圈應急使用。
若加工面上有銹跡,可用00號砂布擦凈后放在汽油中清洗。
軸承損壞時,可將幾個同型號軸承拆開,選完好的拼湊組裝成一只軸承使用。只缺少滾珠或滾珠損壞的軸承,可只更換滾珠,不必更換軸承。
此外,高速電機的滾動軸承磨損不嚴重時,可用在低速電機上。
滾動軸承常見故障現象、原因及排除方法列于表1.6
表1.6 滾動軸承常見故障現象、原因及排除方法
續表
10怎樣判斷和檢修鼠籠轉子斷條故障?
電機的轉子沖片直徑在6000mm以下時,多是采用鑄鋁轉子,而中型電機則采用銅條轉子。鼠籠轉子斷條及斷環,總稱為斷籠或斷條。斷條是指鼠籠中有一根或數根斷裂或有嚴重氣泡,而斷環則是指端環中有一處或幾處開裂。
通常,鼠籠轉子比較堅固結實,不易損壞。但當鑄鋁或鑄銅鼠籠轉子制造工藝粗糙、質量不良或設計不合理,頻繁啟動及操作不當時,急促、猛烈的正反轉將造成劇烈的沖擊,導致鼠籠發生斷條故障。
鼠籠式電機若轉子只斷條一或兩根,對電機運行暫無明顯影響,而斷條嚴重則影響電機正常運行。
電機鼠籠轉子斷條嚴重時,將出現下列現象:
電機啟動轉矩明顯降低。如果停車后再次啟動時,轉子左右擺動,電機不能啟動運轉。
帶負載運行時,電流表指針做周期性擺動。
滿載時轉速明顯降低,轉子過熱,機身劇烈震動,溫度增高,并有較大雜音。
電機啟動時,會從通風道內濺出火星等。
鼠籠轉子發生斷條故障時,通常采用以下方法進行檢查:
1、外觀檢查
實際檢修經驗表明,鑄鋁鼠籠轉子的斷裂點多發生在槽軸向長度的中心附近,而銅條轉子的斷裂點則多發生在籠條與端環焊接處,若系雙籠轉子其故障點多是出在上籠部位。此時,取出鼠籠轉子,檢查鐵芯表面,籠條與端環交接處若有變色或過熱及裂紋,即表明該處斷條。
2、更換轉子檢查
更換轉子檢查雖簡單易行,但需更換上同型號良好轉子進行試運轉。如果更換轉子后,電機運行一切恢復正常,則說明原鼠籠轉子存在斷條故障。
3、通電檢查
在定子繞組中通入約為額定電壓10%的低壓電流,在一相中串入電流表,用手慢慢地轉動轉子,此時電流表的讀數若不穩定,而是大小循環變動,即表明轉子有斷條故障。
4、鐵粉檢查
檢查時將開關S合上,調節調壓變壓器,使電壓從零逐漸升高,待升流器的電流逐漸增大時,轉子表面即產生磁場,隨后把鐵粉撒在轉子上。若鐵粉一行行地沿著籠條方向整齊排列,表明轉子完好無損。如果鐵粉排列雜亂無章,或鐵粉撒不上去,說明轉子存在斷條故障。
用鐵粉檢查轉子時的接線圖如圖1-9所示。
圖1-9 用鐵粉檢查轉子接線圖
5、互感探測器檢查
它是采用互感器原理,由大小兩個開口鐵芯組成,如圖1-10所示。
圖1-10 用互感探測器檢查斷條
線圈1接上電源,鐵芯1與鐵芯2形成閉合磁路,則部分磁通交鏈至鐵芯2。當被測槽內的籠條完好無損時,籠條即有電流流過,形成一只相當于鐵芯2的短路線圈,將阻止磁通通過鐵芯2,這樣探測器線圈2的感應電勢很小。當移動鐵芯2至斷條槽口時,相當于短路線圈開路,則通過鐵芯2的磁通增加,此時毫伏表的讀數增大,表明籠條斷裂。
6、整機檢查
在定子三相繞組中通入50~60V的低壓電,以轉子不能自轉為準,之后用手緩慢轉動轉子。若三相電流不平衡,其電流又隨轉動角度而變化,即表明轉子有斷條故障。
銅條轉子發生故障,應依據不同的損壞情況進行相應的修理:
1、銅條與端環處局部開焊的修理
用銼刀清除故障部位的舊焊瘤及氧化層,將焊縫周圍用尖鑿鑿出坡口,用30%硫酸溶液清洗。之后使用多把焊炬同時對端環加熱。當溫度達到400℃左右時,改用一把焊炬集中對欲焊部位加熱,待溫度升至800℃時,可將45%的銀釬焊料潤濕并填滿焊縫,固化后端環與銅條開焊處即焊接牢固。
2、槽外少數銅條斷裂的修理
當槽外有少量銅條斷裂時,應先加熱銅條較長部分的端環焊縫處,待焊劑熔化后用鐵錘打出該段銅條,之后用加熱法再除去短段銅條。如果直線部分有凸起圓形銅條,則用銑床銑去端環焊接孔部位的銅條,然后用加熱法除去銅條。斷裂的銅條打出槽后,清除槽內雜物,再選用與舊銅條材質及幾何尺寸相同的銅條插入槽內,將其焊牢即可。
3、槽內少數銅條斷裂的修理
在斷條兩端環上開一缺口,用鑿子將斷裂的銅條鑿去,之后換上與銅條截面相同的新銅條。新銅條兩端伸出端環在15mm左右,將其敲彎貼緊在端環上并焊牢。端環的缺口處用銅焊補上,其堆積高度應略高于端環面,放在車床上將端環表面車平后,校準轉子靜平衡即可。
4、大量銅條斷裂的修理
大量銅條斷裂時,用4~6把氧—乙炔焰火炬加熱端環,待全部焊縫均熔化時,使用圖1-11所示的拆卸端環專用工具,將端環卸下。
清理銅條端頭,將槽內銅條全部抽出,并將槽內清潔干凈。然后用大錘把端口墊有軟金屬的銅條均打入槽內,使其松緊程度適宜,銅條伸出鐵芯的長度應相等。再按原始記錄套入端環,銅條與端環孔的配合間隙在0.1mm左右,最后將其焊接牢固即修復。
圖1-11 拆卸端環專用工具
5、端環斷裂的修理
端環斷裂時,通常采用以下修理方法:
①把斷裂處面積用鑿子適當擴大,之后將該處加熱至450°左右,再用63%的錫、33%的鋅及4%的鋁熔鑄成的焊料進行焊補即可。若斷裂處面積很大,無法焊補時,只能重新澆鑄。
②把轉子加熱至650~700℃,待端環全部熔化時,將其全部倒出。之后把槽孔清洗干凈,用比轉子鐵芯稍長、形狀與槽孔相似的紫銅棒插入槽孔中,再將紫銅棒長出鐵芯部分敲彎,倒向一邊相互重疊,用氣焊焊成一體成為端環,在車床上將端環車平即可。
鑄鋁轉子斷裂時,應依據轉子的斷裂情況不同,采取相應處理措施:
①當鋁導條或鋁端環局部有裂紋時,可將裂紋兩邊用尖鑿剔出坡口或梯形槽,之后用氬弧焊補焊即可。
②當鋁導條或鋁端環局部有裂縫時,可將裂縫處用尖鑿剔出坡口,用噴燈將其加熱到400~500℃,之后用63%錫、33%鋅及4%鋁熔鑄成的焊條由氣焊填補裂縫即可。
③對于小型電機,可用長鉆頭把故障的籠條鉆通,之后將槽內殘鋁清除干凈,再插入直徑相同的新鋁條,與端環焊成整體,把焊接處填平即可。
若鑄鋁轉子斷裂嚴重,原則上更換新鋁轉子。現場解決鋁轉子嚴重斷裂故障的方法,多是采用燒堿溶鋁法把鑄鋁轉子改為銅條轉子。
11怎樣檢修滑動軸承的常見故障?
滑動軸承分帶(或不帶)襯油環潤滑的整體式滑動軸承、套筒式滑動軸承及帶油環潤滑的分解式滑動軸承等。整體式滑動軸承一般用于小型電機,分解式滑動軸承則用于大中型電機。
滑動軸承的軸頸包在軸承中間做相對滑動,依靠軸承中的潤滑油膜形成半液體、半干性摩擦。因此,在缺潤滑油的情況下極易造成軸承嚴重磨損,若不及時停車修理會使軸承溫度升高而導致合金熔化,損傷軸頸或使電機定、轉子相擦。
拆卸滑動軸承時,應先將端蓋油箱內的機油倒出。對于套筒或滑動軸承,要將其外面的緊固螺釘擰松,再把端蓋的止口面朝上平放,而尖緣在端蓋內側的套筒式滑動軸承止口面應朝下放,在端蓋下面墊上套管,套管應放到軸承外面,以防折斷油環或卡住軸承,然后將金屬棒頂在軸承的內套圈上,用手錘將軸承敲出。
修理滑動軸承時,先在軸承的磨損表面澆一層鉛,再鏜成正確的孔徑。具體做法如下:
在軸承澆鉛前先在軸承內孔表面車或鑿出截面為燕尾形的槽,以使澆上的鉛與軸承體牢固地結合在一起。再在軸承內表面掛錫,并趁錫尚未完全凝固時立即澆鉛。掛錫前應在欲掛錫的表面抹一層鹽酸或硫酸,用熱水沖洗、晾干。掛錫時先用噴燈將軸承加熱至焊錫熔化溫度250~270℃,然后涂上一層氯化鋅溶液,再撒上一層氯化銨粉即可掛錫。澆鉛時要在軸承孔內放一只直徑略小于軸頸的泥芯,將熔融的鉛液澆入泥芯與軸承孔壁之間的間隙中。鉛層的厚度可用下式計算:
S=0.02d+2(mm)
式中d——軸頸直徑,mm。
鉛層的最大厚度不應大于10mm,最小厚度不應小于表1.7中的數值。
表1.7 軸承鉛層的最小厚度與軸頸直徑的關系(mm)
在青銅或鑄鋼軸承上澆鉛時,不需車或鑿燕尾形槽,但要掛錫。鉛層的最小厚度取表1.7中數值的一半。
軸承鏜好孔后,為使潤滑脂流到軸頸的四周,應在孔壁上車或鑿出油槽。油槽形狀有斜紋、螺紋及曲紋等多種。油槽尺寸與軸頸直徑相關,可參照表1.8中的規定。

表1.8 油槽尺寸與軸頸直徑的關系(mm)
此外,開油槽時不能開在軸承內壁受軸壓力的部位,亦不能開在軸承邊緣,以防漏油。
滑動軸承在運行中的常見故障現象、原因及排除方法列于表1.9。
表1.9 滑動軸承的常見故障現象、原因及排除方法
續表
12怎樣修理電機轉軸?
轉軸是電機傳遞轉矩、帶動機械負載的主要部件,它必須有足夠的機械強度來傳遞電機的功率,并要有足夠的剛度以保證電機運行時不產生震動而導致定子與轉子相碰。電機轉軸一般是用35號或40號鋼制成。
正常的電機轉軸,除應具有足夠的機械強度及剛度外,尚應幾何中心線呈直線;軸頸保持正圓;軸表面光滑,無穴坑、波紋及刮痕;鍵槽工作面應垂直、平整,無裂痕和損傷。
電機轉軸常見的損壞為軸頭彎曲、軸頸磨損、軸開裂及軸斷裂等。其損壞原因除制造質量問題外,多數是使用或拆裝不當而造成。
欲檢查轉軸是否彎曲,可將轉軸置于車床上,如圖1-12所示。
用百分表或劃線針檢查確定轉軸的彎曲部位及彎曲程度。
當轉軸彎曲不大時,可采用磨光軸頸、滑環或換向器等辦法,來消除因轉軸彎曲而對轉子鐵芯段所造成的影響。對于小型電機,亦可磨光轉子鐵芯段,但轉子與定子之間增大的間隙不能超過正常間隙的10%。
圖1-12 在車床上檢查轉軸彎曲度
當轉軸彎曲較大,彎曲度超過0.2mm時,則應對轉軸進行矯正。轉軸常用矯正方法,有冷態矯軸法和熱態矯軸法。
1、冷態矯軸法
冷態矯軸法又分壓力矯軸法和捻打矯軸法兩種。
①壓力矯軸法。
其適于小型電機轉軸彎曲的矯正。它是將轉軸在壓力機或螺旋壓床上進行矯正,如圖1-13所示。
圖1-13 壓力矯軸法
矯正時,將轉軸及鐵芯(即轉子)置于兩個等高的支架上,之后將轉子轉動360°(一周),用百分表測出轉軸或鐵芯的凸出面,并使凸出面朝上,將壓力機的壓桿對著凸出面施加壓力,同時用百分表檢測轉軸的彎曲度。當所施加的壓力使百分表指示軸已朝反向彎曲時,再緩慢撤除壓力,記錄百分表的變化值。如此反復施壓,逐漸加大壓力矯正,使百分表指示軸已反向彎曲0.03~0.05mm為止,即矯軸完畢。
②捻打矯軸法。
其適于直徑較大的轉軸彎曲矯正。它是使轉軸的凹陷面朝上,在轉軸凸起部位放有支架A。支架上墊放一塊厚8~10mm、寬80~100mm的鋁板,鋁板上放兩根直徑為20~30mm的錫條,鋁板及錫條成圓弧狀,如圖1-14所示。
圖1-14 捻打矯軸法
矯軸時,在距捻打位置最近的一端用螺栓壓板向下施壓,轉軸的彎曲部位即承受捻打力,這樣該部位的金屬纖維在凹陷處承受拉伸力,而凸起處則承受壓縮力,其結果是彎曲部位被拉直。
捻棒由直徑25mm、長350mm的黃銅棒制成,下端呈與轉軸相吻合的弧形,以防捻打時損傷軸面。捻打工具為手錘,重1~2kg。
捻打時從凹陷最大部位開始,捻打次數應多些,之后左右交替均勻移動捻棒捻打,距凹陷最大部位越遠捻打次數應越少。每捻打一遍,要用百分表測量轉軸彎曲度變動值一次,直至轉軸矯直為止。剛捻打時,轉軸伸直速度較快,捻打速度可快些,而后捻打速度逐漸減慢。當接近轉軸矯正值時,要注意矯正不能過頭。
2、熱態矯軸法
當電機的轉軸直徑較大,彎曲度亦較大時,可采用熱態矯軸法進行矯直。熱態矯軸法分先加壓力后加熱矯直及先加熱后加壓力矯直兩種。
①先加壓力后加熱矯直。
將轉軸彎曲部位朝上放在兩端支架上,在彎曲部位附近施加壓力并增大,使彎曲部位朝相反方向變形,用百分表測其變形程度。之后用濕石棉布將不需要加熱的部分包好,露出需要加熱部位。此時,彎曲部分仍在施壓,即在施壓狀態下用焊槍對變形部位加熱。加熱時逐漸擴大加熱范圍,均勻地移動焊槍,使加熱區域溫度達600~700℃,呈現暗櫻桃色。在加熱過程中,隨時用百分表檢測轉軸的彎曲程度,并視其情況補增一些壓力。通常,采用3號、4號或5號焊槍,第一次加熱時間在3~20min。加熱時間依據轉軸彎曲程度及轉軸直徑大小確定。
待加熱矯直至符合要求時,立即用干石棉布蓋在加熱部位保溫,使轉軸自然冷卻至室溫。爾后,撤除壓力,用百分表測量轉軸彎曲部位是否矯直。若未達到要求程度,可按上述步驟再矯直一次。矯直時可以矯過頭0.05~0.075mm,因轉軸矯直后需進行局部或全部退火處理,這樣矯過頭的數值會自行消失,使轉軸的矯直恰到好處。
②先加熱后加壓力矯直。
電機轉軸彎曲嚴重時,可采用先加熱后加壓力矯直的方法。矯直時,先對轉軸的彎曲部位整個圓圈進行均勻加熱,待溫度達到600~700℃時,用壓力機加壓,將轉軸彎曲部分矯直。在矯直過程中,用百分表檢測矯直狀況。當符合要求時,壓力保持不變,亦用干石棉布蓋在加熱部位保溫,直至轉子冷卻到室溫再撤除壓力。
除上述矯直方法,尚可用電焊在彎曲處表面均勻地堆焊一層,之后置于車床上以轉子外徑為準找出中心,車成所需尺寸并用千分尺檢查。
13怎樣修理電機機座?
電機機座(又稱機殼)是用于支撐定子鐵芯及固定電機的,兩個端面還用來固定端蓋及軸承。
由于制造、搬運、使用及拆修時不當等原因,往往造成機座損傷,影響電機的正常運行。機座的常見故障是變形、破裂、散熱片損壞及止口處損傷等。一旦發生上述故障,電機將因運行不平穩而震動、掃膛、溫度升高及聲響嚴重,并給電機的拆裝帶來困難。
電機機座的底腳是由鑄鐵制成的。若其安裝不平則電機運轉時產生震動,或受機械力作用均可能造成機座底腳開裂或斷裂。當機座底腳開裂或斷開時,可用鑄鐵焊條焊接修復。在焊前為清除鑄鐵的內應力,要用噴燈將焊接處加熱至600℃左右,焊好后使其自然冷卻。
若斷裂部分距電機鐵芯很近,或者兩邊底腳全部斷裂,這時如果采用電焊焊接將損壞定子繞組,應使用角鐵修復。根據底腳的尺寸選擇相應的角鐵,并加工成底腳形狀,再用螺栓緊固在電機的機殼上。
當機殼有裂縫時,其內的鐵芯會松動,此時可用電焊修復。但焊接前要將裂縫緊固,以防焊接后機殼變形。焊接時應注意鐵芯位置不能偏移,并保證鐵芯在機殼內不會松動。為消除機殼的內應力,補焊后應將機殼放入稻草灰或烘房中使其緩慢冷卻。
對于機殼的裂紋尚可采用錫鉛合金補焊。錫鉛合金是將73%的錫與27%的鉛置于坩堝或鐵質器皿中加熱軟化,均勻混合后,鑄成細長形焊條制成的。將機殼裂紋處用鑿子剔出坡口,并清除鐵屑及油污,之后用噴燈將裂紋處加熱至100℃左右即可用錫鉛合金焊條補焊。補焊時先用鏹水或其他強氧化劑除去坡口的銹蝕,再用少量錫鉛合金在上面打底,待錫鉛合金與坡口的鑄鐵材料結合后再涂焊,直至焊平為止。
14怎樣修理電機的端蓋?
電機的端蓋多為鑄鐵制成,其作用是支撐電機轉子轉動和保護線圈的端部。電機端蓋的常見故障是端蓋破裂、端蓋止口松動、端蓋止口損傷、端蓋軸承孔與軸承之間的間隙增大等,其修理方法簡述如下。
1、端蓋破裂
當端蓋出現嚴重裂紋時,若具有澆鑄及機械加工條件,則應澆鑄新端蓋。若受條件限制,不能澆鑄新端蓋時,可視其裂紋程度,采用電焊、銅焊及膠粘劑粘補等方法進行修理。
采用電焊或銅焊時,為防止端蓋裂紋在焊接時延伸,若裂紋在平面的中間,可在裂紋的兩邊各鉆一個直徑2.5~3mm的孔;如果裂紋由端蓋邊緣裂向軸孔方向,可在裂紋終點鉆一個直徑2.5~3mm的孔。之后用尖鑿在裂紋處剔出坡口,將端蓋加熱至180~250℃,即可用鑄鐵焊條予以焊接。當用銅焊條焊接時,則端蓋不需預熱,直接用銅焊條焊接即可。為防止產生新的裂紋,焊接完畢,要用木炭粉或稻草灰等對焊縫進行保溫,使其慢慢冷卻。冷卻后,要檢查端蓋有無變形,并把端蓋的配合面加工至原尺寸及粗糙度。
當不具備焊接條件而生產又急需將端蓋修復,或者裂紋較多不宜焊接時,可視其端蓋裂紋或破裂程度,采用鉚接或螺栓緊固進行修復。修補時,依據裂紋形狀截取大小適宜、厚5~8mm的鋼板,并在鋼板及端蓋上分別鉆好相應的孔,之后用鉚釘將鋼板與端蓋鉚緊,或用螺栓把鋼板固定在端蓋上,以加強因裂紋而降低的機械強度。
當既不具備焊接條件又不具備鉚接或螺栓緊固條件時,可采用膠粘劑粘補。粘補前,為防止裂紋延伸,先在裂紋始、末端鉆孔。之后用鏨子沿裂紋剔出60°V形槽至兩端的止裂孔。V形槽深度為端蓋厚度的50%左右。再用脫脂棉簽浸丙酮將槽的粘接面擦洗干凈。把鐵錨牌101甲、乙兩組分聚氨酯膠,按2∶1的體積比在玻璃器皿中攪拌均勻,填滿V形槽,并用刮刀刮平。再將端蓋放入烘箱內,在100℃下烘焙2h,使膠粘劑完全固化。膠粘劑固化后,端蓋便可組裝使用。
2、端蓋止口松動
端蓋止口與機座配合的松緊度,直接關系著電機能否正常運行,其間允許的最大間隙列于表1.10。
表1.10 端蓋止口與機座配合的允許最大間隙(mm)
端蓋止口松動時,通常是采用電鍍法使止口緊固。
3、端蓋軸承孔與軸承間隙增大
當端蓋軸承孔與軸承間隙和規定值相比超過0.05mm時,會導致電機的轉子與定子相擦。此時,一是在車床上把端蓋軸承孔車去一部分,之后車削一個適宜的套筒鑲進去,再車成原軸承孔尺寸;另外,還可在磨損的軸承孔內表面上電鍍一層鎳,使軸承孔恢復至原有尺寸。
4、端蓋止口損傷
當端蓋止口表面損傷及有污垢時,可用刮刀將污垢刮干凈,之后用銼刀及油石把傷痕銼磨平滑,再抹上機油,便可裝配使用。
15怎樣修理電機的端蓋?
電機的定子、轉子鐵芯均是用硅鋼片疊壓而成,硅鋼片間相互絕緣并用鐵壓圈壓緊或用環形鍵固定在機殼或轉軸上。
鐵芯常見故障有表面擦傷、片間絕緣損壞、鐵芯松弛、硅鋼片扇張及槽齒熔毀等。
鐵芯表面擦傷,多是軸承損壞、轉軸彎曲、端蓋止口磨損及裝配質量不良或落入異物等造成。鐵芯表面擦傷時,可用硝酸進行腐蝕,不必起出線圈,對硅鋼片絕緣亦無影響。
在用硝酸腐蝕前,先配好濃度為34%的硝酸溶液;把鐵芯段間通風溝用石棉布或玻璃絲布進行堵塞;擦傷處附近的線圈及槽楔表面和鐵芯間的縫隙處用油灰堵嚴,以防硝酸溶液流入線圈內部;待腐蝕處理部分的鐵芯露出,其余部分用石棉蓋住。
之后,用手砂輪沿鐵芯紋路方向打磨短路處的硅鋼片,至能看清片間紋路為止,以防短路深度擴大。用毛刷蘸硝酸溶液涂刷已清潔干凈的短路處,直至將硅鋼片短路毛刺腐蝕掉,呈現清晰片間紋路為止。然后用毛刷蘸清水把腐蝕過的鐵芯表面清潔干凈,再將用酒精浸濕的試紙貼在表面上,若試紙不呈紅色即表明無酸性反應。最后根據硅鋼片的絕緣等級,將相應的絕緣漆涂刷在處理過的鐵芯表面,并予以烘干處理。
當鐵芯松動或兩側壓圈不緊時,可用兩塊鋼板制成外徑略小于定子繞組端部內徑的圓盤,在其中心開孔穿一個雙頭螺栓,再緊固雙頭螺栓將鐵芯夾緊。
槽齒歪斜時可用尖嘴鉗修正。若鐵芯中間松弛,可在松弛部分打入絕緣紙板等硬質絕緣材料。如果硅鋼片上有毛刺或機械損傷,可用細銼除去毛刺,把凹陷處銼平,再用汽油清洗干凈,而后涂上一層絕緣漆。
當鐵芯燒壞或熔毀的表面不大又未延伸到鐵芯深處時,可用鑿子將燒壞或熔毀部分剔去,再用細銼及刮刀除去毛刺并清除異物,重新涂上一層絕緣漆。
扇張是鐵芯的較普遍現象,是一種不可忽視的隱患,雖不能立即造成事故,但危害很大。扇張的齒部沖片在電磁力的作用下,將產生震動使電機噪聲增大;扇張的沖片因不斷地磨損線圈絕緣,會導致線圈發生接地故障;扇張的沖片由于長期震動,會疲勞折斷,斷落的沖片容易刮傷端部線圈的絕緣。
造成鐵芯扇張的原因有:拆除舊線圈時,因操作不慎將齒部沖片壓倒,致使沖片彎曲、變形;采用加熱法燒掉舊線圈絕緣時,齒的端部過熱變形,片間絕緣燒焦,沖片向外翹曲;端部壓緊裝置不完善或根本無壓緊裝置。
鐵芯出現扇張現象時,一是增加輔助壓圈將扇張部分沖片壓緊;另外,可用汽油將扇張沖片上的銹蝕、油污清洗干凈,把鐵芯加熱至50~60℃,之后將配制好的環氧樹脂膠填入扇張沖片縫隙內,再用夾具把扇張沖片壓緊到正常位置,在壓力下室溫固化8~12h,卸下壓緊夾具即可。
在小型電機運行中,鐵芯齒部的扇張值不能超過表1.11中規定值。
表1.11 小型電機鐵芯齒部扇張允許值(mm)
當鐵芯沖片短路、線圈匝間短路或線圈對地絕緣擊穿產生電弧時,均將導致鐵芯齒、槽局部燒損。
鐵芯槽局部燒損時,將燒損區域內的線圈起出來,之后用扁鑿或鋼鏟把燒熔在硅鋼片上的黏結塊清除干凈,再用小直徑風砂輪將鐵芯凸凹不平的傷痕打磨平。用刀片將齒部沖片一片片地撬開,并清除毛刺和涂上硅鋼片絕緣漆。若沖片較難撬開時,可采用硝酸溶液予以腐蝕處理,再涂上絕緣漆。
在檢修過程中擠緊的鐵芯部分,均應涂上462號瀝青油漆,予以保護。
16換向器有哪些常見故障?怎樣拆卸?
換向器是直流電動機和交流變速電動機的重要組成部分,分普通換向器及塑料換向器兩大類。普通換向器的結構如圖1-15所示。
圖1-15 普通換向器的結構
換向器的常見故障有以下幾種:
換向器片間短路
換向器接地
換向器飛(跳)片及變形
升高片松動或斷裂
換向片表面有傷痕或磨損等
當換向器損壞需要修理時,必須將其拆卸。拆卸時,先在換向器上圍一層厚0.5~1mm的彈性紙作襯墊絕緣,再用直徑1.2~2mm的鋼絲繞一圈或者用鐵箍箍緊,并做好壓環與換向片間相對位置的標記,之后擰松螺母,取下V形壓環。若V形壓環過緊時,可墊一層壓板后用小錘均勻地輕敲V形壓環的端面,松動后即可拆下。將套筒與另一個V形壓環取出后,便可檢查換向片間、V形槽表面及V形云母環,并做相應修理。
通常云母片是粘貼在換向片上的,需用小刀將其揭開。換向片上的云母細粒亦應刮除。如果刮出刀痕,可用中級砂布將其兩面磨光。完好無損的云母片要保留,以便用千分尺測量厚度。云母片的厚度一般在0.5~1.0mm,寬約60mm,長約90mm。云母端環亦應保留,以作為制作新云母環的樣本。