|
|
1.對中的重要性
泰興減速機專業生產廠家泰強減速機2020年3月29日訊 據統計,在由旋轉機器停機導致的損失中,有50%是由于不對中所引起的。精確的軸對中可以預防大量的機器停機,減少非計劃性停機,從而減少生產損失。所以,在運行之前的對中調試顯得尤為重要。
良好的對中能夠降低軸承的軸向及徑向受力,延長軸承使用壽命,降低軸由于超過疲勞極限引起缺陷的可能性,增強齒輪嚙合的穩定性,保證減速機、電機和驅動主機的低震動,使整個傳動系統擁有更高的可靠性。
1、軸向對中
通過調整電機和減速機的相對位置,實現主動軸與被動軸中軸線的重合。
使用工具:鋼板尺,千分表
2、徑向對中
通過調整電機和減速機的相對位置,實現電機軸的端面與減速機軸端面的平行。
使用工具:塞尺,千分表
小貼士
1. 弗蘭德減速機有嚴格的對中要求,出廠時已做對中處理,但不排除有個別不符合要求或由于運輸和其它原因造成安裝基礎移位而喪失對中精度。
2.建議新設備投入運行前,驗證對中度和各部件連接的可靠性,調整精度是決定軸,軸承和聯軸器使用壽命的重要因素,偏差需盡可能為零。
3.平時注意觀察減速機的運行狀態,如有振動,異響,局部發熱,務必停機檢查,排除故障。
2.不對中的后果
不對中會增大摩擦,由此帶來能耗損失,同時造成密封件損壞而漏油,不對中會增大振動和噪音,軸承損壞及聯軸器損壞,縮短減速機的使用壽命,甚至導致整個傳動系統故障。

▲不對中造成的影響示意圖
3、四種方向對中
▲四種方向對中示意圖
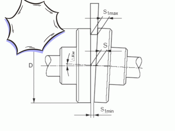
4.
不對中偏差的三種檢測方法
▲不對中的三種檢測方法示意圖
請注意
聯軸器不對中在任何情況的操作過程中均不得超過最大許可不對中值,具體數值可參見相關聯軸器的說明書。
5.
對中調整及對中要求
對于驅動零部件的對中(垂直方向),建議在安裝腳的下面加上墊片。
附:
1)夾殼聯軸器軸向及徑向允許偏差值
2)滑塊聯軸器裝配允許偏差值
3)蛇形彈簧聯軸器裝配允許偏差值
4)齒式聯軸器裝配允許偏差值
5)梅花形彈性聯軸器裝配允許偏差值
6)彈性柱銷聯軸器裝配允許偏差值
7)輪胎式聯軸器裝配允許偏差值
8)膜片聯軸器許用補償量
